Skip to content
  • marketing-sales@tozen.com
  • +6327 116 4865
  • 0917 6271947
  • 0917 5692698
Linkedin
Logo Version 2
  • Home
  • About Us
  • Services
  • Products
  • Projects
  • Careers
  • Home
  • About Us
  • Services
  • Products
  • Projects
  • Careers
Contact Us

GATEVALVE RISING STEM

gatevalve-rising-1 gatevalve-rising-2

CAST IRON RISING STEM GATE VALVE

R-CGV-A Class 125 2″-24″

SPECIFICATION

RISING STEM • OUTSIDE SCREW AND YOKE
MSS SP-70 • FLANGED TO ANSI CLASS 125

Share:
Inquire now
Download Brochure
PRESSURE / TEMPERATURE RATINGS
MATERIALS
DIMENSIONS
PRESSURE / TEMPERATURE RATINGS
2″~12″ 14″~24″
Working Pressure 200psi 150 psi
Testing Pressure  Shell : 350 psi
Seat : 200 psi
 Shell :  262 psi
Seat :  150 psi
Working Temperature 14˚F to 248˚F
Suitable Media Water, Oil & Gas

* 200 psi pressure rating is available for 14″~24″. The body material shall be Ductile Iron.

MATERIALS
Part Material ASTM
Body Cast Iron A126 Class B
Bonnet Cast Iron A126 Class B
Disc Cast Iron A126 Class B
Seat Ring Gunmetal B62 C83600
Stem Brass
Stainless Steel
B16 C36000
AISI 420
Packing Graphite Non-Asbestos
Handwheel Cast Iron A126 Class B
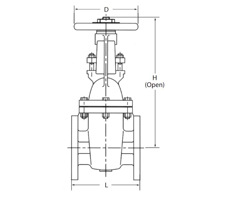
DIMENSIONS
Size
inch
L
inch
H (Open)
inch
D
inch
2 7 13.8 7.5
2-1/2 7.5 15.4 7.5
3 8 17.9 7.5
4 9 22.1 11.8
5 10 26 11.8
6 10.5 30.8 13.8
8 11.5 36.6 13.8
10 13 46.6 15.7
12 14 54.8 17.7
14 15 62.8 20
16 16 74.8 22
18 17 87 24
20 18 98 24
24 20 116.5 30

Note:
1. JIS B2239 10K and other flange standards available upon request.
2. If used for gas application, please consult our sales office.
3 Design and specifications are subject to change without prior notice.

Logo Version 2
  • Address (Manila office)
    Rey Marketing Compound, C. Raymundo, Barangay Rosario, Pasig City
  • Address (Cebu Office)
    Door No. 4, 7 Ymas Apt., FB Cabahug Street cor DB Neri, Brgy. Guizo, Mandaue City, Cebu 6014 Philippines
Follow Us:
Linkedin
quick links
  • Home
  • About Us
  • Services
  • Products
  • Projects
  • Careers
  • Contact Us
  • Privacy Policy
  • Terms & Conditions
Contact Details
  • Contact Number (Manila)
    +632 7116 4865
    0917 6271947
  • 0917 5692 698
  • Contact Number (Cebu)
    032-4021485
  • Email Address
    marketing-sales@tozen.com
  • tpi@tozen.com
  • admin_cebu@tozen.com
© Copyrights 2025 Tozen Philippines, Inc. All Rights Reserved.
Powered by: Web Designer Philippines
  • Home
  • About Us
  • Services
  • Products
  • Projects
  • Careers
Contact Us

Inquire Now