Skip to content
  • marketing-sales@tozen.com
  • +6327 116 4865
  • 0917 6271947
  • 0917 5692698
Linkedin
Logo Version 2
  • Home
  • About Us
  • Services
  • Products
  • Projects
  • Careers
  • Home
  • About Us
  • Services
  • Products
  • Projects
  • Careers
Contact Us

BUTTERFLY VALVE WAFER TYPE

butterfly-valve-wafer-1 butterfly-valve-wafer-2 butterfly-valve-wafer-3 butterfly-valve-wafer-4

WAFER TYPE BUTTERFLY VALVE

BFV-WA Class 125 2″-14″

SPECIFICATION

FOR ANSI CLASS 100 / 125 FLANGE MOUNTING
FACE-TO-FACE DIMENSION TO ISO 5752 / BS 5155 / BS EN 593
LEVER / WORM GEAR OPERATOR

Share:
Inquire now
Download Brochure
PRESSURE / TEMPERATURE RATINGS
MATERIALS
DIMENSIONS
PRESSURE / TEMPERATURE RATINGS
Working Pressure 200 psi
Testing Pressure Shell : 350 psi
Seat : 220 psi
Working Temperature -4˚F to 230˚F (EPDM Seat)
14˚F to 176˚F (NBR Seat)
Suitable Media Water, Oil & gas
MATERIALS
Part Material ASTM
Body Cast Iron
Ductile Iron
A126 Class B
A536 Gr. 65-45-12
Disc Ductile Iron
Aluminum Bronze
Stainless Steel 304
Stainless Steel 316
A536 Gr. 65-45-12
B 148-97 C95400
A351 CF-8
A351 CF-8M
Seat Ring EPDM
NBR
PTFE
Viton
Shaft Stainless Steel 410
Stainless Steel 431
Stainless Steel 316
S41000
S43100
S31600
Taper Pins Stainless Steel 316 S31600
Key Carbon Steel
O-Ring NBR
Bushing PTFE
(2″~24″)
Luberized Bronze
(2″~40″)
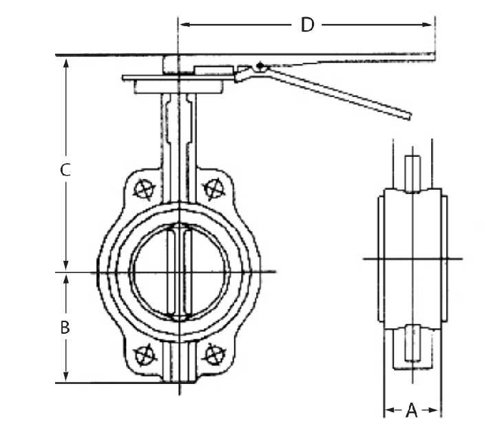
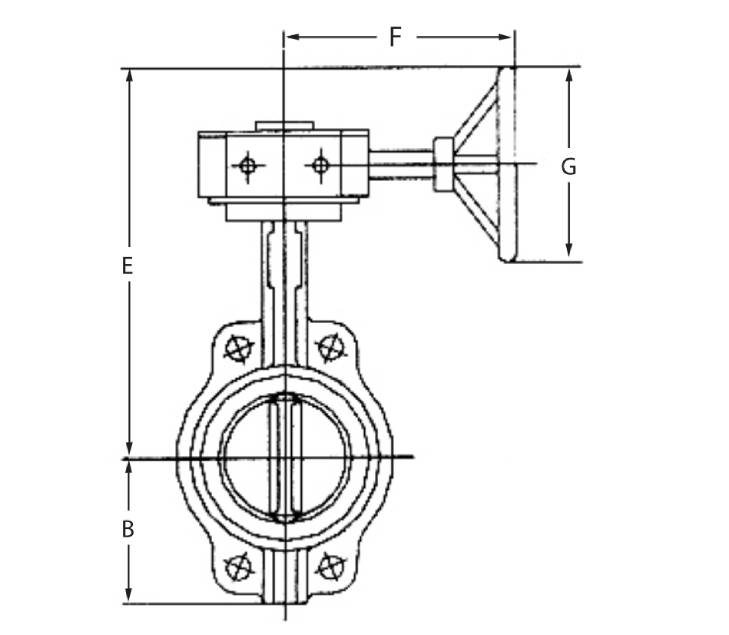
DIMENSIONS
Size
inch
A
inch
B
inch
C
inch
D
inch
E
inch
F
inch
G
inch
Cv
90°
2 1.7 3.1 7.7 10.5 10.7 6.8 5.9 135
2-1/2 1.8 3.5 8.2 10.5 11.3 6.8 5.9 220
3 1.8 3.8 8.4 10.5 11.5 6.8 5.9 302
4 2 4.5 9.2 10.5 12.2 6.8 5.9 600
5 2.1 5 9.7 10.5 12.8 6.8 5.9 1022
6 2.2 5.5 10.2 10.5 13.3 6.8 5.9 1579
8 2.4 6.9 12 14.1 17.8 9.4 11.2 3136
10 2.6 8 13.3 14.1 19.1 9.4 11.2 5340
12 3 9.6 15 14.1 20.7 8.9 11.2 8250
14 3 10.6 – – 21.9 8.9 11.2 11917
Logo Version 2
  • Address (Manila office)
    Rey Marketing Compound, C. Raymundo, Barangay Rosario, Pasig City
  • Address (Cebu Office)
    Door No. 4, 7 Ymas Apt., FB Cabahug Street cor DB Neri, Brgy. Guizo, Mandaue City, Cebu 6014 Philippines
Follow Us:
Linkedin
quick links
  • Home
  • About Us
  • Services
  • Products
  • Projects
  • Careers
  • Contact Us
  • Privacy Policy
  • Terms & Conditions
Contact Details
  • Contact Number (Manila)
    +632 7116 4865
    0917 6271947
  • 0917 5692 698
  • Contact Number (Cebu)
    032-4021485
  • Email Address
    marketing-sales@tozen.com
  • tpi@tozen.com
  • admin_cebu@tozen.com
© Copyrights 2025 Tozen Philippines, Inc. All Rights Reserved.
Powered by: Web Designer Philippines
  • Home
  • About Us
  • Services
  • Products
  • Projects
  • Careers
Contact Us

Inquire Now